Д815А, Д815Б, Д815В, Д815Г, Д815Д, Д815Е, Д815Ж, Д816А, Д816Б, Д816В, Д816Г, Д816Д, Д817А, Д817Б, Д817В, Д817Г
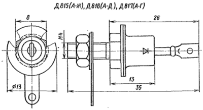
Стабилитроны кремниевые, диффузионно-сплавные, средней и большой мощности. Предназначены для стабилизации номинального напряжения 5,6…100 В в диапазоне токов стабилизации 5 мА…1,4 А. Выпускаются в металлостеклянном корпусе с жёсткими выводами. Тип стабилитрона приводится на корпусе. Корпус стабилитрона в рабочем режиме служит отрицательным электродом (катодом).
Для сборки радиоэлектронного устройства можно преобрески DIY KIT набор по ссылке.
Масса стабилитрона с комплектующими деталями не более 6 г.
Электрические параметры
| Напряжение стабилизации Uст при Iст = 1 А:
Д815А Д815Б Д815В |
5…5,6…6,2 В 6,1…6,8…7,5 В 7,4…8,2…9,1 В |
| при Iст = 500 мА:
Д815Г Д815Д Д815Е Д815Ж |
9…10…11 В 10,8…12…13,3 В 13,3…15…16,4 В 16,2…18…19,8 В |
| при Iст = 150 мА:
Д816А Д816Б Д816В Д816Г Д816Д |
19,6…22…24,2 В 24,2…27…39,5 В 29,5…33…36 В 35…39…43 В 42,5…47…51,5 В |
| при Iст = 50 мА:
Д817А Д817Б Д817В Д817Г |
50,5…56…61,5 В 61…68…75 В 74…82…90 В 90…100…110 В |
| Температурный коэффициент напряжения стабилизации αUст в диапазоне температур -60…+120℃, не более
при Iст = 360 мА для Д815А |
0,045 %/℃ |
| при Iст = 300 мА для Д815Б | 0,05 %/℃ |
| при Iст = 250 мА для Д815В | 0,07 %/℃ |
| при Iст = 200 мА для Д815Г | 0,08 %/℃ |
| при Iст = 170 мА для Д815Д | 0,09 %/℃ |
| при Iст = 135 мА для Д815Е | 0,10 %/℃ |
| при Iст = 110 мА для Д815Ж | 0,11 %/℃ |
| при Iст = 90 мА для Д816А, Iст = 75 мА для Д816Б, Iст = 60 мА для Д816Г, Iст = 45 мА для Д816Д | 0,12 %/℃ |
| при Iст = 35 мА для Д817А, Iст = 30 мА для Д817Б, Iст = 25 мА для Д817В, Iст = 20 мА для Д817Г | 0,14 %/℃ |
| Временная нестабильность напряжения стабилизации δUст, не более:
при Iст = 1 А для Д815А, Д815Б, Д815В при Iст = 500 мА для Д815Г, Д815Д, Д815Е, Д815Ж |
± 4% |
| при Iст = 150 мА для Д816А, Д816Б, Д816Г, Д816Д | ± 5% |
| при Iст = 150 мА для Д817А, Д817Б, Д817Г | ± 6% |
| Постоянное прямое напряжение при Iпр = 500 мА, не более | 1,5 В |
| Постоянное обратное напряжение при Iобр = 50 мкА, не менее:
Д816А Д816Б Д816В Д816Г Д816Д Д817А Д817Б Д817В Д817Г |
15 В 19 В 23 В 27 В 33 В 39 В 47 В 57 В 70 В |
| Дифференциальное сопротивление rст, не более:
при Iст = 1 А и Т = +25 ℃ Д815А Д815Б Д815В |
0,6 Ом 0,8 Ом 1 Ом |
| при Iст = 500 мА и Т = +25 ℃
Д815Г Д815Д Д815Е Д815Ж |
1,8 Ом 2 Ом 2,5 Ом 3 Ом |
| при Iст = 150 мА и Т = +25 ℃
Д816А Д816Б Д816В Д816Г Д816Д |
7 Ом 8 Ом 10 Ом 12 Ом 15 Ом |
| при Iст = 50 мА и Т = +25 ℃
Д815А Д815Б Д815В Д817А Д817Б Д817В Д817Г |
20 Ом 15 Ом 8 Ом 35 Ом 40 Ом 45 Ом 50 Ом |
| при Iст = 25 мА и Т = +25 ℃
Д815Г Д815Д Д815Е Д815Ж |
15 Ом 20 Ом 25 Ом 30 Ом |
| при Iст = 10 мА и Т = +25 ℃
Д816А Д816Б, Д816В, Д816Г, Д816Г |
120 Ом 150 Ом |
| при Iст = 5 мА и Т = +25 ℃
Д817А, Д817Б Д817В, Д817Г |
200 Ом 300 Ом |
| при Iст = 50 мА и Т = -60…+120 ℃
Д815А Д815Б Д815В |
30 Ом 20 Ом 12 Ом |
| при Iст = 25 мА и Т = -60…+120 ℃
Д815Г Д815Д Д815Е Д815Ж |
20 Ом 30 Ом 40 Ом 50 Ом |
| при Iст = 10 мА и Т = -60…+120 ℃
Д816А Д816Б Д816В Д816Г Д816Д |
150 Ом 180 Ом 200 Ом 250 Ом 300 Ом |
| при Iст = 5 мА и Т = -60…+120 ℃
Д817А, Д817Б Д817В Д817Г |
400 Ом 600 Ом 800 Ом |
Предельные эксплуатационные данные
| Минимальный ток стабилизации Iст.мин:
Д815А, Д815Б, Д815В Д815Г, Д815Д, Д815Е, Д815Ж Д816А, Д816Б, Д816В, Д816Г, Д816Д Д817А, Д817Б, Д817В, Д817Г |
50 мА 25 мА 10 мА 5 мА |
| Максимальный ток стабилизации Iст.макс
при Т ≤ +75℃ Д815А Д815Б Д815В Д815Г Д815Д Д815Е Д815Ж Д816А Д816Б Д816В Д816Г Д816Д Д817А Д817Б Д817В Д817Г |
1,4 А 1,15 А 950 мА 800 мА 650 мА 550 мА 450 мА 230 мА 180 мА 150 мА 130 мА 110 мА 90 мА 75 мА 60 мА 50 мА |
| при Т = +130 ℃
Д815А Д815Б Д815В Д815Г Д815Д Д815Е Д815Ж Д816А Д816Б Д816В Д816Г Д816Д Д817А Д817Б Д817В, Д817Г |
360 мА 300 мА 250 мА 200 мА 170 мА 135 мА 110 мА 90 мА 75 мА 60 мА 55 мА 45 мА 35 мА 30 мА 25 мА |
| Постоянный прямой ток Iпр | 1 А |
| Перегрузка то току стабилизации в течении 1 с:
при Т ≤ +75℃ Д815А Д815Б Д815В Д815Г Д815Д Д815Е Д815Ж Д816А Д816Б Д816В Д816Г Д816Д Д817А Д817Б Д817В Д817Г |
2,8 А 2,3 А 1,9 А 1,6 А 1,3 А 1,1 А 900 мА 460 мА 360 мА 300 мА 260 мА 220 мА 180 мА 150 мА 120 мА 100 мА |
| при Т = +130℃
Д815А Д815Б Д815В Д815Г Д815Д Д815Е Д815Ж Д816А Д816Б Д816В Д816Г Д816Д Д817А Д817Б Д817В, Д817Г |
720 мА 600 мА 500 мА 400 мА 340 мА 270 мА 220 мА 180 мА 150 мА 120 мА 110 мА 90 мА 70 мА 60 мА 50 мА |
| Рассеиваемая мощность Р:
при Т ≤ +75℃ Д815А, Д815Б, Д815В, Д815Г, Д815Д, Д815Е, Д815Ж Д816А, Д816Б, Д816В, Д816Г, Д816Д, Д817А, Д817Б, Д817В, Д817Г при Т ≤ +130℃ |
8 Вт
5 Вт 2 Вт |
| Температура корпуса Тк | +130 ℃ |
| Температура окружающей среды Т | -60…+120℃ |
Стабилитрон должен крепиться к теплоотводящему радиатору, обеспечивающему сохранение температуры корпуса при работе не свыше +130 ℃. Рекомендуется применение алюминиевого радиатора чёрного цвета толщиной 3…4 мм, площадью не менее 100 см2. При креплении стабилитрона к радиатору крутящий момент, воздействующий на вывод катода, не должен превышать 1,17 Н•м. Запрещается прилагать к анодному выводу растягивающую силу более 14,7 Н и изгибающее усилие, превышающее 7,35 Н•м вместе просечки.
Пайка анодного вывода допускается не ближе 5 мм от корпуса, время пайки не более 3 с при температуре жала паяльника не свыше +280 ℃.
Допускается последовательное соединение любого числа стабилитронов. Параллельное включение стабилитронов разрешается при условии, что суммарная рассеиваемая на всех стабилитронах мощность не превышает допустимую для одного стабилитрона.

Зависимости максимальной рассеиваемой мощности от температуры.

Зависимости максимального тока стабилизации от температуры.

Зависимости максимального тока стабилизации от температуры.

Зависимости максимального тока стабилизации от температуры.

Зависимости максимального тока стабилизации от температуры.
Теория это хорошо, но необходимо отрабатывать это всё практически ПОПРОБОВАТЬ МОЖНО ЗДЕСЬ

